項目代號 JTAP119215
長春市康嘟加油站
安全現狀評價報告
吉林省吉泰安全技術服務有限公司
資質證書編號:APJ-(吉)-306
2019年8月27日
長春市康嘟加油站
安全現狀評價報告
法定代表人:
技術負責人:
項目負責人:
2019年8月27日
前 言
長春市康嘟加油站,主要經營車用乙醇汽油和柴油,位于農安縣合隆鎮開發區凱旋北路與華能大街交匯處,該站已經完成了雙層罐的改造。
為了客觀、公正地了解與充分掌握該加油站的安全風險,貫徹落實《中華人民共和國安全生產法》(中華人民共和國主席令第13號)、《危險化學品安全管理條例》(國務院令第591號,國務院令第 645號2013年修訂)、《危險化學品經營許可證管理辦法》(原******安全生產監督管理總局令第55號,原******安全生產監督管理總局令第79號2015年修訂)等有關法律、法規和標準,長春市康嘟加油站委托我公司對該站進行安全現狀評價。
接到委托后,我公司成立了評價小組,并到現場做了實地踏查和資料收集,在對該加油站站內經營、儲存設施及經營條件充分了解和分析的基礎上,編制完成了安全現狀評價報告書。
目 錄
1.安全評價概述1
1.1安全評價的目的和意義1
1.2安全評價的依據2
1.3評價范圍4
1.4安全評價的程序5
2.加油站概況6
2.1加油站基本情況6
2.2加油站區域位置和站址選擇7
2.3加油站站內平面布置8
2.4加油站公用工程及輔助設施11
2.5安全管理15
3.主要危險、有害因素分析20
3.1主要危險、有害因素辨識結果20
3.2危險化學品識別20
3.3其他危險類別辨識20
3.4物質的危險特性21
3.5重大危險源辨識26
3.6爆炸危險區域劃分26
3.7設備、設施的危險、有害因素辨識分析28
3.8加油站作業危險、有害因素辨識分析32
3.9自然環境與總體布置方面的危害因素辯識分析28
3.10主要危險、有害因素分析結果及其分布37
3.11事故案例分析37
4.評價單元的劃分和評價方法的選擇39
4.1評價單元劃分39
4.2評價方法的選擇40
4.3評價單元的劃分結果40
5.定性評價43
5.1安全檢查表評價法43
5.2 采用危險度評價評價法分析54
6.安全對策措施及建議56
6.1對策措施56
6.2建議63
7.評價結論65
附件:
1、營業執照
2、危險化學品經營許可證
3、主要負責人和安全管理人員考核合格證書
4、建設工程消防驗收意見書
5、汽車加油加氣站防雷裝置安全檢測報告
6、防靜電裝置安全檢測報告
7、生產經營單位生產安全事故應急預案備案登記表
8、平面布置圖
1.安全評價概述
1.1安全評價的目的和意義
1.1.1安全評價的目的
安全評價的目的是查找、分析和預測工程、系統存在的危險、有害因素及可能導致的危險、危害后果和程度,提出合理可行的安全對策措施,指導危險源監控和事故預防,以達到******事故率、***少損失和******的安全投資效益。安全評價可以達到以下目的:
1)提高系統本質安全化程度;
2)實現全過程安全控制;
3)建立系統安全******方案、為決策提供依據;
4)為實現安全技術、安全管理的標準化和科學化創造條件。
1.1.2安全評價的意義
安全評價的意義在于可有效地預防事故的發生,減少財產損失和人員傷亡。安全評價與日常安全管理和安全監察工作不同。安全評價是從系統安全的角度出發,分析、論證和評估可能產生的損失、傷害及其影響范圍、嚴重程度,提出應采取的對策措施等。
1)安全評價是安全管理的一個必要組成部分;
2)有助于政府應急管理部門對生產經營單位的安全生產實行宏觀控制;
3)有助于安全投資的合理選擇;
4)有助于提高生產經營單位的安全管理水平;
5)有助于生產經營單位提高經濟效益。
1.2安全評價的依據
1.2.1法律、法規、文件
1)《中華人民共和國安全生產法》(中華人民共和國主席令第13號);
2)《中華人民共和國消防法》(中華人民共和國主席令第6號,2019年主席令第29號修正);
3)《中華人民共和國勞動法》(中華人民共和國主席令第28號 2018年12月29日第十三屆全國人民代表大會常務委員會第七次會議修正);
4)《危險化學品安全管理條例》(中華人民共和國國務院令第591號,國務院令第645號2013年修正);
5)《危險化學品經營許可證管理辦法》(原******安全生產監督管理總局令第55號,原******安全生產監督管理總局令第79號2015年修正);
6)《生產經營單位安全培訓規定》(2006年1月17日原******安全監管總局令第3號公布,根據2015年5月29日原******安全生產監管總局令第80號第二次修正);
7)《吉林省銷售和使用車用乙醇汽油暫行規定》(吉林省政府令第148號,自2003年8月10日起施行);
8)《危險化學品目錄》(2015版);
9)《生產安全事故應急條例》(中華人民共和國國務院令第708號);
10)《危險化學品重大危險源監督管理暫行規定》(原******安全生產監督管理總局令第40號,原******安全生產監督管理總局令第79號2015年修正);
11)《吉林省安全生產條例》(吉林省第十二屆人民代表大會常務委員會公告第99號,2018年3月1日起施行);
12)《吉林省安全監管局關于強化危險化學品企業事故狀態下清凈下水收集處理措施的通知》(吉安監管危化[2017]226號);
13)《生產安全事故應急預案管理辦法》(******安全生產監督管理總局令第88號);
14)<吉林省安全生產監督管理局關于印發《吉林省生產安全事故應急預案管理辦法實施細則》>(吉安監管辦[2017]202號)。
1.2.2標準、規范
1)《安全評價通則》(AQ8001-2007);
2)《汽車加油加氣站設計與施工規范》(GB50156-2012,2014年版);
3)《常用化學危險品貯存通則》(GB15603-1995);
4)《危險貨物品名表》(GB12268-2012);
5)《企業職工傷害事故分類》(GB6441-1986)
6)《建筑設計防火規范》(GB50016-2014,2018年版);
7)《防止靜電事故通用導則》(GB12158-2006)
8)《化學品分類和危險性公示通則》(GB13690-2009);
9)《危險化學品重大危險源辨識》(GB18218-2018);
10)《易燃易爆性商品儲存養護技術條件》(GB17914-2013);
11)《爆炸危險環境電力裝置設計規范》(GB50058-2014);
12)《危險貨物運輸包裝通用技術條件》(GB12463-2009);
13)《建筑物防雷設計規范》(GB50057-2010);
14)《建筑滅火器配置設計規范》(GB50140-2005);
15)《消防安全標志設置要求》(GB15630-1995);
16)《低壓配電設計規范》(GB50054-2011);
17) 《液體石油產品靜電安全規程》(GB13348-2009);
18)《車用乙醇汽油(E10)》(GB 18351-2017);
19)《空間網格結構技術規程》(JGJ 7-2010);
20)《建筑抗震設計規范》(GB 50011-2010 2016年版);
21)《石油與石油設施雷電安全規范》(GB15599-2009);
22)《建筑照明設計標準》(GB50034-2013);
23)《危險化學品儲罐區作業安全通則》(AQ3018-2008);
24)《安全標志及其使用導則》(GB2894-2008);
25)《生產過程安全衛生要求總則》(GB/T12801-2008);
26)《生產過程危險和有害因素分類與代碼》(GB/T13861-2009);
27)《車用柴油》(GB19147-2016);
28)《生產經營單位生產安全事故應急預案編制導則》(GB/T29639-2013)。
1.2.3委托單位提供的有關資料
1)建設工程消防驗收意見書;
2)主要負責人和安全管理人員考核合格證;
3)汽車加油加氣站防雷裝置安全檢測報告;
4)防靜電裝置安全檢測報告;
5)企業提供的其他資料。
1.3評價范圍
本次評價的范圍為長春市康嘟加油站安全管理、站址選擇和站內平面布置、工藝及設施、公用工程。
1.4安全評價的程序
根據《安全評價通則》(AQ8001-2007)和《危險化學品經營單位安全評價導則(試行)》(安監管管二字[2003]38號)的要求,結合安全評價工作的一般程序要求,本項目安全評價程序見下圖:

圖1-1安全評價程序框圖
2.加油站概況
2.1加油站基本情況
2.1.1加油站簡介
加油站名稱:長春市康嘟加油站
加油站地址:
加油站經營品種:
加油站主要負責人:
加油站安全管理員:
加油站聯系電話:
長春市康嘟加油站位于農安縣合隆鎮開發區凱旋北路與華能大街交匯處,該加油站現有員工,主要負責人,安全員,均經過吉林省農安縣安全生產監督管理局培訓并考核合格,取得了合格證。
2.1.2加油站規模及等級劃分
長春市康嘟加油站主要經營乙醇汽油和柴油。儲罐區有5臺臥式埋地內鋼外玻璃纖維增強塑料雙層罐(SF),其中2臺乙醇汽油儲罐,3臺柴油儲罐,站內油品******儲量如下表2.2-1:

依據《汽車加油加氣站設計與施工規范》(GB50156-2012,2014年版)第3.0.9條的規定,對該加油站進行等級劃分,該加油站乙醇汽油和柴油的總容積(柴油罐容積折半計算)為105m3,該加油站為二級加油站。
2.2加油站區域位置和站址選擇
2.2.1區域位置
該加油站位于農安縣合隆鎮開發區凱旋北路與華能大街交匯處,加油站的東側為彩鋼房(三類保護物)、廢棄房(三類保護物)、民房(三類保護物),南側為民房(三類保護物)、架空通信線、倉庫(丙類物品庫房)、變壓器(丙類物品生產廠房)、小路(次干路),西側為北凱旋路(主干路),北側為塑料廠辦公樓(三層,三類保護物)、塑料廠廠房(丙類物品庫房),交通便利。

交通位置見圖2.2-2
該加油站站內乙醇汽油設備、柴油設備與站外建(構)筑物的防火距離滿足《汽車加油加氣站設計與施工規范》(GB50156-2012,2014年版)的相應防火距離要求。詳見表2.2-3~表2.2-4。

結論:該加油站汽油設備與站外建(構)筑物的距離符合《汽車加油加氣站設計與施工規范》GB50156-2012(2014年版)要求的防火距離。

結論:該加油站柴油設備與站外建(構)筑物的距離符合《汽車加油加氣站設計與施工規范》GB50156-2012(2014年版)要求的防火距離。
2.3加油站站內平面布置
該加油站占地面積約為3333m2,加油站由儲油罐區、加油島、罩棚及站房等組成。加油機面向道路,車輛入口和出口分開設置,加油區位于站區的西側,站房位于加油區的東側,油罐區位于站房的北側。站內道路采用混凝土路面,加油站設施平面布置詳見:加油站平面布置圖。
加油區設6座加油島,加油島為雙排停車道,兩端設置了防撞柱。共設4臺雙槍雙油品潛油泵柴油加油機和2臺四槍雙油品潛油泵汽油加油機。罩棚投影面積為760m2的型鋼架結構罩棚,凈空高度為6m。
站房建筑面積為284.41m2,一層磚混結構,耐火等級為二級。
非承重罐區由5臺臥式埋地油罐組成,汽油罐與柴油罐的通氣管分開設置,通氣管管口高出地面4m,并設機械呼吸閥和防雨型阻火器。
加油站加油作業區內無“明火地點”或“散發火花地點”。
加油站的配電箱布置在站房內,位于爆炸危險區域之外,且與爆炸危險區域邊界線的距離大于3m。
加油站內的爆炸危險區域,未超出站區圍墻和可用地界線。
加油站站內設施之間的防火距離符合《汽車加油加氣站設計與施工規范》(GB50156—2012,2014年版)中第5.0.13條的布置要求。詳見表2.3-1。

2.3.1主要建筑物
該加油站主要建筑物由站房、罩棚、加油島等組成。見表2.3-2

2.3.2主要設備設施及工藝流程
(1)主要設備設施
該加油站的油罐、附件管線、加油機及其他設備、設施等均按照《汽車加油加氣站設計與施工規范》(GB50156-2012,2014年版)中的有關規定執行,油罐選用內鋼外玻璃纖維增強塑料雙層罐(SF),按規范要求設置了檢測立管及帶有高液位報警功能的液位監測系統。其埋地加油管道采用雙層熱塑性塑料管道,操作井內******點設人工檢漏點,雙層管道的滲漏檢測采用在線監測。乙醇汽油罐和柴油罐的通氣管單獨設置,乙醇汽油通氣管安裝了干燥器。卸油管采用標準快速接頭,電力電纜采用鎧裝電纜外套鋼管防護敷設。

(2)工藝流程
工藝流程主要分為卸油及卸油油氣回收、儲油、加油及加油油氣回收三部分。工藝流程必須保證卸油暢通,儲油時間合理,加油無阻,避免脫銷、積壓現象。
1、 卸油及卸油油氣回收
卸油:該站采用油罐車經連通軟管與油罐卸油孔連通卸油的方式卸油。裝滿汽油、柴油的油槽車到達加油站罐區后,在油罐附近停穩熄火,先接好靜電接地裝置,待油罐車熄火并靜止15min后,將連通軟管與油罐車的卸油口、儲罐的進油口利用密閉快速接頭連接好,經計量后準備接卸,卸油前,核對罐車與油罐中油品的品名、牌號是否一致,各項準備工作檢查無誤后,開始自流卸油。油品卸完后,拆卸油管與油罐車連接端頭,并將卸油管抬高使管內油料流入油罐內并防止濺出,蓋嚴卸油口處的卸油帽,拆除靜電接地裝置,卸油完畢罐車靜止5min后,發動油品罐車緩慢離開罐區。
汽油罐卸油油氣回收:汽油油罐車卸下一定數量的油品,就需吸入大致相等的氣體補充到槽車內部,而加油站內的埋地油罐也因注入油品而向外排出相當數量的油氣。通過安裝一根氣相管線,將油槽車與汽油儲罐連通,卸車過程中,油槽車內部的汽油通過卸車管線進入儲罐,儲罐的油氣經過氣相管線輸回油罐車內,完成密閉式卸油過程。回收到油罐車內的油氣,可由油罐車帶回油庫后,再經油庫安裝的油氣回收設施回收處理。
汽油卸油及卸油油氣回收工藝流程方塊圖如下:
柴油卸油工藝流程方塊圖如下:

2、 儲油
對油罐車送來的油品在相應的油罐內進行儲存,儲存時間為2至3天,從而保證加油站不會出現脫銷現象。
3、 加油及加油油氣回收
加油采用潛油泵加油工藝,將油品從儲油罐吸出,經過加油機的計量器,再經加油槍加到汽車油箱中。
汽油加油油氣回收:汽車加油過程中,將原來油箱口散溢的油氣,通過油氣回收專用加油槍收集,利用動力設備(真空泵)經油氣回收管線輸送至儲罐,實現加油與油氣等體積置換。
柴油加油工藝流程方塊圖如下:

汽油加油及油氣回收工藝流程方塊圖如下:

2.4加油站公用工程及輔助設施
2.4.1給水、排水
給水:加油站運營不需用水,由于站內人員較少,生活用水亦較少,日用水量約1.0m3,由站內自打井水供給,滿足站內供水的要求。
夏季雨水按地面坡度自然散排。當站內檢修、洗罐時,產生的含油污水用槽車收集并運至污水處理廠統一處理。
2.4.2供配電
1)供電電源:加油站的供電負荷等級為三級。加油站的供電電源采用電壓為380/220V的外接電源。加油站的供電系統設獨立的計量裝置。
2)照明:加油站內爆炸危險區域以外的照明燈具,選用非防爆型。罩棚下處于非爆炸危險區域的燈具,選用IP44級的照明燈具。
3)罩棚、營業室安裝事故應急照明。
2.4.3防雷、防靜電接地
1)油罐進行了防雷接地,每個油罐各有接地點2處。
2)供配電系統采用TN—S系統,供電系統的電纜金屬外皮或電纜金屬保護管兩端均接地,在供配電系統的電源端安裝與設備耐壓水平相適應的過電壓(電涌)保護器。
3)加油站的汽油罐車設卸車時用的防靜電接地裝置,并設置能檢測跨接線及監視接地裝置狀態的靜電接地儀。卸油場地設置了導出人體靜電設施,距離卸油口大于1.5m。
4)在爆炸危險區域內工藝管道上的法蘭、膠管兩端等連接處,用金屬線跨接。
5)本站采用雙層導靜電熱塑性塑料管道,導電內襯擬接地。
6)吉林華云氣象科技有限公司對本站防雷裝置進行了檢測,并發放了“合格”的防雷裝置檢測報告。吉林華云氣象科技有限公司對本站防靜電接地裝置進行了檢測,并發放了“合格”的防靜電接地電阻檢測報告。
2.4.4采暖與通風
該加油站冬季供暖采用電鍋爐取暖,能滿足冬季供暖需要。
站內房間采用自然通風。
2.4.5通訊
站房內安裝程控電話,供工作聯絡和事故狀態時報警使用。
2.4.6消防
按照《汽車加油加氣站設計與施工規范》(GB50156-2012,2014年版)及《建筑滅火器配置設計規范》(GB50140-2005)的規定配備了滅火器材。見表2.5-1:

2.4.7自動控制
加油站設置了監測及信息管理系統。
1)本站設置液位儀,可監測每臺油罐的液位,并具有高液位報警功能。SF油罐設滲漏檢測儀,采用在線監測。
2)油罐采取卸油時防滿溢措施。油料達到油罐容量90%時,能觸動高液位報警裝置;當油料達到油罐容量95%時,防滿溢閥關閉,能自動停止油料繼續進罐。聲光報警器安裝在站房北側外墻上。
3)站內設有攝像機,分別設置在出入口、便利店、加油區和罐區。攝像機具備低照度監視功能,錄像存儲時間為30天;進入口設視頻視屏監控系統。
4)加油站設有緊急切斷系統。該系統能在事故狀態下迅速切斷加油泵的電源。電源緊急停泵按鈕設在值班室內,切斷按鈕具有失效保護功能并只能手動啟動復位。加油機自帶急停開關。
2.4.8環保
1)加油站的站址選擇嚴格執行《汽車加油加氣設計與施工規范》(GB50156-2012、2014年版)的規定,符合當地的整體規劃、環境保護和防火安全要求。
2)油氣回收,是通過一定的裝置將收發油過程中所產生的油氣進行回收,防止其排入大氣而污染環境的一種措施。加油站同時設置卸油和加油油氣回收系統,汽車油罐車卸油時,基本不向外部排放油氣,汽車加油的過程也很少向外部排放油氣,對環境保護有利,安全性更好。
3)采用內鋼外玻璃纖維增強塑料雙層罐(SF),是在單層鋼制油罐的基礎上外附一層玻璃纖維增強塑料防滲外套,構成雙層罐,在防止油罐出現滲(泄)漏方面具有雙保險作用,同時對雙層罐壁間隙實施在線監測,當內層罐發生滲漏時,能在貫通間隙內發現,并及時將信號傳至報警器報警,有效地避免油品進入環境,污染土壤和地下水。
4)油罐采取卸油時的防滿溢措施,油料達到油罐容量90%時觸動高液位報警裝置;進油管設置卸油防溢閥,油料達到油罐容量95%時,卸油防溢閥自動關閉,停止油料繼續進罐。高液位報警裝置位于工作人員便于覺察的地點,站房北側外墻上設聲光報警器,有效地防止油品泄露,污染土壤和地下水。
5)埋地加油管道采用雙層管道,雙層管道系統的內層管與外層管之間的縫隙貫通,能有效地防止內層管和外層管任何部位出現滲漏均能在檢漏點被發現,有效地避免油品污染土壤和地下水。
6)本站用水取自地下水井。經營過程無廢水產生,其生活污水排入防滲旱廁,定期清掏處理,無集中排放。本站針對危險化學品發生事故時主要采取的應急措施、消防方法為干粉、泡沫、二氧化碳、砂土、水泥滅火。
7)加油站對事故有污染情況的地點,要采取清理整治行動。對于油罐周圍污染的土壤,把污染了的土壤運到專門的有害廢棄物填埋場填埋,或是將其經過一定的處理后運到一般的廢棄物填埋場填埋,然后用新土回填原處。
8)當站內檢修、清洗罐時,產生的含油污水用槽車收集并運至污水處理廠統一處理。
綜上所述,采取上述安全措施,該加油站乙醇汽油及柴油對環境的污染可得到有效的控制,不需要設置清凈下水的收集處理措施,可滿足《安全監管局關于強化危險化學品企業事故狀態下清凈下水收集處理措施的通知》(吉安監危化[2017]226號)的要求。
2.5安全管理
1)該加油站建立健全了本企業所需的各項安全生產規章制度、崗位責任制,各相關崗位均制定了符合安全生產要求的崗位操作規程,按照《生產經營單位生產安全事故應急預案編制導則》(GB/T29639-2013)編制了符合安全生產要求的事故應急救援預案;
2)該加油站依據企業自身經營特點,未配備特種作業人員;
3)該加油站主要負責人1名,站內配備了2名專職安全管理人員,主要負責人和安全管理人員均經過相關部門培訓,并取得了考核合格證。該企業所配備的人員及數量上合理。該加油站的其他從業人員均經過本企業的教育培訓合格后上崗,人員配備及數量能夠滿足本企業安全生產需求;
4)該加油站不涉及需法定檢驗檢測的特種設備,農安縣公安消防大隊出具了《建設工程消防驗收意見書》。吉林華云氣象科技有限公司對本站防雷裝置進行了檢測,并發放了“合格”的防雷裝置檢測報告。吉林華云氣象科技有限公司對本站防靜電接地裝置進行了檢測,并發放了“合格”的防靜電接地電阻檢測報告。
3.主要危險、有害因素分析
3.1主要危險、有害因素辨識結果
該加油站所經營品種主要有乙醇汽油和柴油。其中乙醇汽油的火災危險類別為甲B類,柴油(閃點45-60℃)的火災危險類別為乙B類。油品在儲運過程中存在著火災、爆炸、中毒等主要危險因素。同時還存在機械傷害、觸電、車輛傷害等有害因素。
3.2危險化學品識別
該加油站經營的油品列入《危險化學品目錄》(2015年版)的危險化學品為乙醇汽油和柴油(閉杯閃點(℃)≤60℃),見表3.2-1。

3.3其他危險類別辨識
1)依據《危險化學品目錄》(2015年版),該加油站經營過程中不涉及劇毒化學品。
2)依據《易制毒化學品管理條例》,該加油站經營過程中不涉及易制毒化學品。
3)依據《高毒物品名錄》(2003版),該加油站經營過程中不涉及高毒物品。
4)依據《重點監管的危險化學品名錄》(2013年完整版),該加油站經營的乙醇汽油屬于重點監管的危險化學品。
3.4物質的危險特性
1)物質的一般危險性
物質的危險特性由其化學組成和理化特性所決定。乙醇汽油屬于甲B類易燃液體。這些物質都表現出具有較大的危險特性如:揮發性、易燃、易爆性、易產生積聚靜電性、易擴散、流淌性和膨脹性、毒害性和麻醉作用。
2)物質的火災、爆炸危險性
物質火災危險性是根據被引燃的難易程度,按其閉口閃點分為甲、乙、丙三類。乙醇汽油閃點在28℃以下,易揮發遇點火源燃燒爆炸。

一般調配出的車用乙醇汽油按照汽油:乙醇=9:1的比例。由于乙醇易溶于水,如果在油品儲運過程中因為油品吸濕或泄漏致使過多的水分進入盛裝油料的容器,會導致乙醇與汽油產生相分離,致使乙醇汽油不能正常燃燒。乙醇與汽油發生分離時,水相成份中含有20%的水、70%的乙醇、10%的烴類物質。所以乙醇汽油儲罐必須具有高、低液位報警和水位高度檢測的裝置。
乙醇汽油對一些金屬具有一定的腐蝕性,對某些橡膠具有一定的溶漲性,會對某些加油機和車輛油路系統造成一定的損害。所以乙醇汽油加油站的儲罐、加油機應設置識別標志,應提醒司機避免加錯油料。同時,乙醇汽油加油機不宜與普通加油機混用。
乙醇汽油對許多防腐涂料具有很強的溶解性,所以,乙醇汽油儲罐、管線內壁不宜涂防腐材料。
因為乙醇的強親水性,在清理管道和油罐時不宜用水沖洗。加油站宜采取卸油、加油油氣回收系統,未采用的,儲油罐通氣管至少應設置空氣干燥設施。乙醇的親水性還表現在對普通泡沫具有很強的破壞作用,消防用泡沫必須選用抗溶性泡沫。
3)車用柴油危險特性
柴油列入了《危險化學品目錄》(2015版),屬于易燃液體類危險物品。火災危險級別為乙B類。遇明火、高熱或與氧化劑接觸,有引起燃燒爆炸的危險。若遇高熱,容器內壓增大,有開裂和爆炸的危險。
加油站經營的危險化學品為乙醇汽油、柴油。其危險品的物理化學特性見表3.4-2~表3.4-3。


3.5重大危險源辨識
重大危險源是指長期地或臨時地生產、儲存、使用和經營危險化學品,且危險化學品的數量等于或超過臨界量的單元。
生產單元為危險化學品的生產、加工及使用等的裝置及設施,當裝置及設施之間有切斷閥時,以切斷閥作為分隔界限劃分為獨立的單元。
儲存單元為用于儲存危險化學品的儲罐或倉庫組成的相對獨立的區域,儲罐區以罐區防火堤為界限劃分為獨立的單元,倉庫以獨立庫房(獨立建筑物)為界限劃分為獨立的單元。
危險化學品重大危險源可分為生產單元危險化學品重大危險源和儲存單元危險化學品重大危險源。
生產單元、儲存單元內存在危險化學品的數量等于或超過規定的臨界量,即被定為重大危險源。單元內存在的危險化學品的數量根據危險化學品種類的多少區分為以下兩種情況:
1)生產單元、儲存單元內存在的危險化學品為單一品種時,該危險化學品的數量即為單元內危險化學品的總量,若等于或超過相應的臨界量.則定為重大危險源。
2)生產單元、儲存單元內存在的危險化學品為多品種時,按式(1)計算 若滿足式(1),則定為重大危險源:
S=q/Q+q:/Q+-+q./Q.≥1………………(1)
式中:S ——辨識指標
q1,q2,……,qn ——每種危險化學品的實際存在量,單位為噸(t)。
Q1,Q2,……,Qn ——與每種危險化學品相對應的臨界量,單位為噸(t)。
危險化學品儲罐以及其他容器、設備或倉儲區的危險化學品的實際存在量按設計******量確定。
根據《危險化學品重大危險源辨識》(GB18218-2018)對本項目內的儲存單元進行重大危險源辨識。
危險化學品重大危險源的辨識流程參見下圖3.1-1
依據《危險化學品重大危險源辨識》(GB18218-2018)對該加油站進行單元劃分,該站未涉及生產單元,儲罐區為儲存單元,根據表1及表2,該加油站中儲存的乙醇汽油和柴油為易燃液體,其臨界量為200噸;該站2臺乙醇汽油罐******儲油為42.66噸,3臺柴油罐******儲油量為72.9噸。
根據《危險化學品重大危險源辨識》(GB18218-2018)辨識計算如下:
q1/Q1+q2/Q2 =42.66/200+72.9/5000≈0.228<1
通過辨識該加油站中乙醇汽油、柴油的數量未構成重大危險源。
3.6爆炸危險區域劃分
1.爆炸危險區域的等級定義,應符合現行******標準《爆炸危險環境電力裝置設計規范》(GB 50058-2014)的規定。
(1)0區:連續出現或長期出現爆炸性氣體混合物的環境;
(2)1區:在正常運行時可能出現爆炸性氣體混合物的環境;
(3)2區:在正常運行時不可能出現爆炸性氣體混合物的環境,或即使出現也僅是短時存在的爆炸性氣體混合物的環境。
注:正常運行指正常的開車、運行、停車、易燃物質產品的裝卸,密閉容器蓋的開閉,安全閥、排放閥以及所有工廠設備都在其設計參數范圍內工作狀態。
2. 汽油設施的爆炸危險區域內地坪以下的坑或溝劃為1區。
3. 埋地臥式汽油儲罐爆炸危險區域劃分,符合下列規定:
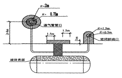
(1) 罐內部油品表面以上的空間劃分為0區。
(2) 人孔(閥)井內部空間、以通氣管管口為中心,半徑為0.75m的球形空間和以密閉卸油口為中心,半徑為0.5m的球形空間,劃分為1區。
4. 距人孔(閥)井外邊緣1.5m以內,自地面算起1m高的圓柱形空間、以通氣管管口為中心,半徑為2m的球形空間和以密閉卸油口為中心,半徑為1.5m的球形并延至地面的空間,劃分為2區。


5. 汽油罐車和密閉卸油口的爆炸危險區域劃分,符合下列規定:
(1) 地面油罐和油罐車內部的油品表面以上空間劃分為0區。
(2) 以通氣口為中心,半徑為1.5m的球形空間和以密閉卸油口為中心,半徑為0.5m的球形空間,劃分為1區。
(3) 以通氣口為中心,半徑為3m的球形并延至地面的空間和以密閉卸油口為中心,半徑為1.5m的球形并延至地面的空間,劃分為2區。

6. 汽油加油機爆炸危險區域劃分,符合下列規定:
(1)加油機殼體內部空間劃分為1區。
(2)以加油機中心線為中心線,以半徑為3m的地面區域為底面和以加油機頂部以上0.15m半徑為1.5m的平面為頂面的圓臺形空間,應劃分為2區。

3.7設備、設施的危險、有害因素辨識分析
3.7.1工藝設備缺陷的危險、有害因素辨識分析
1)儲油罐
(1)儲油罐本身設計不合理,焊接質量差,選材不當,會造成其耐壓能力不夠,發生破裂,導致油品泄漏;
(2)在儲油罐防雷、防靜電接地設施失效或漏裝的情況下,易使儲油罐遭受雷擊,導致火災爆炸事故。
(3)埋地油罐的外表面防腐措施不符合《汽車加油加氣站設計與施工規范》要求,未采取不低于加強級的防腐絕緣保護,地下水、土壤、雜散電流等,均易加速儲罐鋼板的腐蝕,造成油品泄漏;
(4)如果進出儲油罐的結合管未設置在油罐的人孔蓋板上,而是在油罐壁上任意開口安裝,則容易損傷罐身或罐身受力過大發生斷裂,造成跑油滲油等不安全事故;
(5)如果儲油罐頂覆土厚度小于0.5m,油罐周圍回填細沙厚度小于0.3m,容易造成回填的石塊、磚塊、凍土塊等硬物以及植物的根部損傷油罐的防腐層,影響防腐效果,加劇油罐的腐蝕;
(6)當油罐埋在地下水位較高的地帶時,在空罐情況下,會有上浮的危險,有可能將與其連接的管線拉斷,造成跑油事故。
2)加油機
(1)加油機未選擇使用正規廠家的合格產品,可能會出現加油機漏油、機內電器設備不防爆、計量精度差,甚至不能加油等;
(2)加油機不是專用的乙醇汽油加油機,因乙醇汽油會對普通加油機油路系統造成一定的損害,導致發生漏油事故;
(3)加油機漏油,機內電器設備防爆性能差或不防爆,易導致加油機火災、爆炸事故;
(4)加油機的加油槍不是自封式加油槍,對汽車油箱加油時,易導致跑、冒油和火災事故;
(5)如果加油機加油流速大于50 L/min時,容易導致汽車油箱溢油,靜電起火等事故;
(6)加油機底座下的管線坑未用細砂填埋,或者是油砂未及時更換,易導致油氣爆炸事故;
(7)加油機接地不良或未接地,則會產生電火花、靜電火花,引燃加油機內部的油蒸氣。
3)工藝管線及控制系統
(1)卸油連通軟管如果未采用導靜電耐油軟管,易導致發生靜電積聚放電或是軟管遭受油品腐蝕泄漏;
(2)如果加油站內的工藝管線未采用埋地敷設,或是管溝敷設時溝內未用細砂填實,管溝容易積聚油氣,形成爆炸危險場所;
(3)儲油罐的量油管口、進油管口如果未延伸至距離油罐底部0.2m處,容易造成卸油時的大量油氣揮發;
(4)儲油罐通氣管管口如果未高出距離周圍地坪4m以上,揮發的油蒸氣不易迅速擴散;管口未安裝阻火器,容易導致外部火源進入儲油罐內,造成火災、爆炸事故;
(5)由于油管線無靜電接地、油罐車無靜電接地或靜電接地不良,造成靜電積聚可引起火災、爆炸事故;
(6)與輸油管線相連的閥門、法蘭、墊片等,若由于安裝質量差,或由于疏忽漏裝,以及使用過程中的腐蝕穿孔、產生疲勞造成的裂紋等,都可能引起油品泄漏;
(7)加油站信息系統如果未采用鎧裝電纜或導線穿管保護,配線電纜接地不規范,易造成電火花引燃油品事故。
3.7.2其它設備、設施的危險性辨識分析
(1)營業間、配電間耐火等級達不到要求,一旦明火管理不當,生產、生活用火失控,容易導致火災;
(2)加油機罩棚、營業站房等建構筑物結構安全等級達不到設計要求,易導致罩棚、站房倒塌事故;
(3)電氣老化、絕緣破損、短路、私拉亂接等易造成人員觸電事故;
(4)超負荷用電、過載、接線不規范、發熱、電器使用管理不當等會引起火災。
3.8加油站作業危險、有害因素辨識分析
3.8.1加油作業危害因素分析
(1)加油前準備工作時的危險因素包括未按要求穿著防靜電工作服、穿戴鐵釘的靯、攜帶火種、滅火器材準備不足等,均易導致油品火災爆炸事故,甚至造成火災事故擴大;
(2)違反作業規程,加油作業前訓導不認真,未認真檢查設備狀況,導致發生跑油、漏油事故;
(3)未安排專人引導車輛進出站,夜晚燈光照度不夠,車道積雪等,易導致發生人員車輛傷害事故,車輛與加油站設施碰撞事故;
(4)加油員、司乘人員違反規定吸煙、使用通訊工具、穿脫化纖衣物,車輛未熄火加油、任意啟動車輛等,均易導致油品火災爆炸事故;
(5)司機在現場修車、擦車,加油員用化纖、絲綢類紗布擦拭加油機,直接給摩托車加油、直接給塑料容器注油等,易引發火災爆炸事故;
(6)加油車輛油箱漏油、加油機漏油、加油槍開關失靈跑油、加油槍膠管破裂漏油、加油槍不自封跑油,易引發火災事故;
(7)加油機線路、電機、接線盒不防爆,加油機、加油槍靜電接地失靈,違章動火、雷雨天加油等,均易造成火災事故;
(8)未認真交接班發生差錯。
3.8.2卸油作業危害因素辨識分析
(1)未安排專人引導運油罐車進出站,酒后駕車、車道積雪、積水等,易導致發生人員車輛傷害事故,車輛與加油站設施碰撞事故;
(2)油罐車安全設施不齊全,未對車輛采取靜電接地措施,防靜電接地失靈,穩油時間不足15分鐘等,易引發火災事故;
(3)消防器材不到位或失效,延誤滅火時機,火災事態擴大;
(4)穿戴鐵釘的靯、攜帶火種、違反規定吸煙、使用通訊工具、車輛未熄火、任意啟動車輛、司機在現場修車、擦車以及未按要求穿著防靜電工作服等,均易導致油品火災爆炸事故;
(5)卸油膠管連接不牢固、卸油膠管破裂、未采用標準快裝接頭、接頭無密封墊等均易導致油品泄漏;
(6)卸油口標識不清或無標識、未認真核對油品數質量,貿然卸油,易導致跑油、混油事故;
(7)罐車頂部積雪、人員注意力不夠集中,易造成高處墜落事故;
(8)未檢查罐車鉛封損壞,易造成數質量事故;
(9)雷雨天氣進行卸油作業,易遭受雷擊;
(10)使用可移動鐵質卸油臺架,易導致罐車停放不穩傾翻事故,或是鐵質臺架與水泥地面摩擦起火事故。
3.8.3加油站計量作業危害因素辯識分析
加油站計量作業主要包括計量前準備、油罐液面高度測量、罐底水面高度測量、油品溫度測量、密度測量、清理作業、記錄等。
(1)穿戴鐵釘的鞋、攜帶火種、違反規定吸煙、使用通訊工具以及未按要求穿著防靜電工作服等,易導致油品火災爆炸事故;
(2)人員無證上崗、計量器具不準,導致發生計量偏差;
(3)穩油時間不足15分鐘就開始計量、量油口無尺槽、使用工具不防爆、從量油口卸油,易導致火災事故;
(4)下尺速度過快、過猛,尺砣沖擊罐底損壞設備;
(5)加油站無檢水尺,液位儀無水位測試功能,水位高度無法測定;
(6)油罐車停放有坡度,檢尺數據不夠準確,出現偏差;
(7)測量油溫位置不當、浸沒時間不足5分鐘,造成計量誤差;
(8)計量錯誤、記錄錯誤,造成數質量事故。
3.8.4加油站巡檢、檢修及其它作業危害因素分析
(1)巡檢攜帶手機、攜帶火種、未著防靜電工作服易引發火災事故;
(2)違章指揮,盲目蠻干,而造成檢修事故的發生;
(3)未檢查進出站人員及車輛是否存在不安全行為易引發火災事故、人員傷亡事故;
(4)未認真檢查加油機、儲油罐、電氣設備、管道及其附件設施狀況是否良好,巡檢記錄不完整或未對查出的隱患進行及時整改易引發事故;
(5)加油站進行油罐清洗作業時,由于沒有徹底清除罐內油蒸氣和沉淀物,殘余油蒸氣遇到靜電、摩擦、電火花等都會導致火災。
(6)人員更換罩棚的照明燈具時,需要登高作業,因防護措施落實不到位,監護不力,則有可能發生高處墜落事故;
(7)加油站緊鄰主干道路,車流量較大,產生較強的噪聲,人員長時間暴露在噪聲環境中,會由于噪聲的作用而引起聽力損失(也稱噪聲性耳聾),或產生煩躁心理,導致人的不安全行為,甚至發生事故等;
(8)因為心理或生理性的原因,責任心不強,心情不佳,操作錯誤可造成各類事故的發生;
(9)缺乏消防知識和事故應急處理能力,導致發生火災、爆炸等事故時,驚慌失措,不能有效消滅初期火災和實施其他事故處理。
3.9自然環境與總體布置方面的危害因素辯識分析
自然環境條件對加油站正常作業的影響因素包括:極端高溫、極端低溫、雷暴天氣、大風雨雪災害、地震及地質沉降、地下水位變化等;
(1)極端高溫易造成汽油等揮發性較大油品的揮發性進一步增大,導致加油、卸油出現氣阻,作業難度加大,火災爆炸危險區域擴大;
(2)極端低溫易造成柴油粘度加大,加、卸油困難。也會增大金屬設備的脆性,使其韌性降低,熱脹冷縮作用導致設備、管道開裂;
(3)雷暴天氣進行加、卸油作業,易導致雷擊火災事故發生;
(4)大風雨雪災害易造成加油機罩棚被掀翻、壓塌、人員高處墜落、站區地面塌陷、積雪造成人員滑跌、砸傷等;
(5)地震及地質沉降易造成建筑物倒塌、加油機傾斜、輸油管線被拉斷、儲油罐變形開裂等;
(6)地下水位變化易造成埋地油罐陷落或上浮,拉斷管線或儲油罐變形開裂等;
(7)若儲油罐與站外民宅(單位)之間的安全距離不符合規范要求,或是在之間的空地上隨意蓋房或從事生產經營活動,當該房屋或經營活動場所失火時,會對儲油罐的安全構成嚴重威脅;若儲油罐發生火災、爆炸,將導致該房屋或經營活動場所發生火災;
(8)若儲油罐及其通氣管、加油機及其罩棚與附近輸電線路的安全距離過近或不符合《規范》要求。易造成當電力線路斷線時發生與儲油罐及其通氣管、加油機及其罩棚搭接起火引燃油蒸氣、設備和建筑物;另外當發生加油機或儲油罐區火災事故時,也易引燃輸電線路,造成不必要的停電損失和火災事故;
(9)若儲油罐及其通氣管、加油機及其罩棚與附近通信線路的安全距離過近或不符合《規范》要求,當發生儲油罐區或加油區火災事故時,易導致發生燒斷線路,造成通信中斷事故;
(10)若加油站的進出站口設置的標志不醒目,則有可能發生加油車輛交通事故;
(11)若儲油罐通氣管距離罐區圍墻達不到2米,罐區圍墻高度低于2.2米,站外的各種火源容易進入,則有可能發生火災事故。
(12)加油站的儲油罐區若油品密閉卸油點設置不合理,將會造成油罐車卸油不便;
(13)加油場地行車道下方有油品管道通過,若油品管道未采用穿管保護,加油車輛通過時則有可能使油品管道受壓而發生泄漏;
(14)地下敷設的油品管道位置高于當地冰凍線,冬季時則有可能使柴油輸送發生困難;
3.10主要危險、有害因素分析結果及其分布
本項目涉及的主要危險化學品為乙醇汽油和閉杯閃點≤60℃的柴油。該加油站的危險有害因素有火災、爆炸、車輛傷害、觸電、中毒、窒息等是加油站的主要危險有害因素。主要分布在加油站的油品儲存區、加油作業區、輔助服務區、站房及進出口道路等區域。
3.11事故案例分析
1)加油站危險區域內修車引起爆炸、火災
1998年7月1日晚9時,上海某醫院的一輛卡車在市某加油站加油時機械發生故障,司機趙X X打手電筒修車,邊上圍了一些司機觀看,突然發生爆炸,然后燃燒。汽車燃燒后,加油站職工用石棉被、滅火器進行撲救,立即將火撲滅。事后人們得知在汽車著火的地下,有九只油罐,儲存各種油品 60000kg。
事故分析: (1)加油站在加油過程中油蒸氣很濃。 (2)趙X X用旋鑿敲打機械撞擊產生火花,遇油蒸氣發生爆炸。
特別提示:加油站是易燃易爆場所,管理制度中明文規定:嚴禁在站內檢修車輛、敲打鐵器等產生火花的作業。但在實際工作中,由于管理不到位,制度不落實,造成類似事故的發生。
2)加油站違章作業引發爆炸事故
2001年3月18日下午13點15左右,湖北宜昌x x加油站在進地中油機輸油管線與油罐出油管線法蘭對接時,外請施工隊改造油罐上部出油管線。施工隊在未向加油站工作人員請示的情況下,擅自在油罐區動火。焊槍一經點燃,油罐立即爆炸,氣浪將施工隊一民工拋出20余米后摔成重傷,經醫院搶救無效死亡。
事故分析:(1)油罐區存在油蒸氣,且達到爆炸極限。(2)在動火前沒有按規定檢測油蒸氣濃度。(3)沒有落實動火管理制度,在進行焊接時引燃油蒸氣發生爆炸。
特別提示:這起事故是因違章造成的,反映出在加油站改造、施工過程中,管理松懈,制度不落實等問題。應加強對加油站施工現場的監護和管理,嚴格按照“三不動火”的制度進行施工管理。
3)不采用密閉卸油而引發火災
1993年3月12日上午10點左右,山西省陽曲縣某加油站,油罐汽車向地下罐卸油時,營業室內“轟”的一聲,接著油罐口發生火災。雖經及時撲救,但營業室室內物品均被燒毀,燒掉汽油5000kg左右。
事故分析:(1)油罐車卸油時,由于是敞口接卸產生大量的油蒸氣。(2)加油站地下罐與營業室之間的地溝不嚴密,大量的油蒸氣進入室內。(3)罐車司機在營業室內吸煙劃火,將燃著的火柴丟人地溝蓋板的縫隙中,引燃油蒸氣。(4)引燃的油蒸氣又沿管溝引燃卸油罐。
特別提示:1992年12月以前,加油站建設沒有統一的規范,加油站管理也沒有統一的制度。現在,******有了統一的建設規范,加油站油品的接卸必須采用密閉卸油,輸油管線宜采用直接埋設,如采用管溝則必須用干沙填實。另外,加油站內嚴禁煙火。
4.評價單元的劃分和評價方法的選擇
4.1評價單元劃分
4.1.1評價單元的劃分原則
單元是裝置的相對獨立的組成部分,具有布置上的相對獨立性或工藝上的不同性。一般情況下,一個單元即一種工藝。本次評價即是依據這一原則,結合本裝置平面布置、工藝流程及裝置主要危險、有害因素來劃分評價單元的。評價單元的劃分一般以系統的生產工藝、工藝裝置、物料特點和特征與危險、有害因素的類別、分布等結合起來進行,大致遵循以下原則:
(1)具有相似工藝過程的裝置(設備)應劃分為一個單元。
(2)場所(地理位置)相鄰的裝置(設備)劃分為一個單元。
(3)獨立的工藝過程可劃分為一個單元。
(4)具有共性危險、有害因素的場所和裝置(設備)應劃分為一個單元。
工藝過程中不同的部位(設備)具有不同的危險性,即使在同一工藝區域內,不同的部位危險性也有所不同,因此,將危險性不同的部位劃分為不同的評價單元,分別進行評價,可使找出的危險因素更具體、安全措施更有針對性。
根據上述單元劃分原則及農安縣三寶平嶺加油站建設項目的具體情況,將本工程劃分為以下幾個評價單元進行評價。
1)站址選擇單元
2)站址選擇和站內平面布置單元
3) 工藝及設施單元(儲罐區子單元和加油區子單元)
4) 公用工程單元
4.1.2評價單元劃分結果
根據本項目的實際情況和安全評價的需要,評價組將本項目劃分為站址選擇、站址選擇和站內平面布置、工藝及設施和公用工程四個評價單元,具體見表4.1-1。

4.2評價方法的選擇
4.2.1選擇的評價方法
考慮到被評價系統的特點和該企業所需評價的具體目標,根據本項目工藝單元的特點,本安全評價主要采用安全檢查表法(SCA)、預先危險分析法、危險度評價法、道化學公司(DOW)火災和爆炸危險指數評價法進行評價。評價法見表4.2.1。

4.2.2理由說明
安全檢查表是實施安全檢查與評價的一種重要手段,是預防潛在危險因素的有效工具,同時也是安全分析結果的***終落實。將分析出的各種事故原因編成檢查表,用以進行日常檢查,以便找出預防事故發生的對應措施。
使用安全檢查表可發現自然環境、地理位置條件、安全管理、現場環境以及設計中設備本身存在的缺陷,防護裝置的缺陷、保護器具和個體防護用品的缺陷等諸多方面的潛在危險因素,從而找出所造成的不安全行為與不安全狀態,做到全面周到,避免漏項,達到風險控制的目的。
通過預先危險分析法可鑒別產生危險的原因;假設危害確實出現,估計和鑒別對系統的影響,識別危險分級。
道化學公司(DOW)火災、爆炸危險指數評價法(第7版)是依據以往事故的統計資料、物質的潛在能量和現行安全防災措施的狀況,按逐步推算的方法,對工藝裝置及所含物料的潛在火災、爆炸和反應性危險進行客觀評價的定量評價方法。
本項目采用安全檢查表評價方法的主要原因為:首先安全檢查表法適用于各類系統的設計、驗收、運行、管理、事故調查,其次按事先編制的有關標準要求逐項檢查本項目與******標準所存在的差距,確定本項目在安全方面是否符合標準要求。
本項目采用預先危險性分析法對主要裝置、設施單元進行評價,采取該種評價方法的主要原因為:預先危險性分析法是一種應用范圍較廣(人、機、物、環境等方面的危險因素對系統的影響)的定性評價方法,對系統存在的各種危險因素(類別、分布)、出現條件和事故可能造成的后果進行宏觀、概略的分析,其目的是早期發現系統的潛在危險因素,確定系統的危險性等級,提出相應的防范措施。
危險度評價是從安全角度出發,對所要分析問題,確定有關單元工藝及操作有關危險性,通過對工藝屬性進行分析比較計算,進而確定哪一個區域的相對危險性更大,對重點關鍵的區域單元(危險性大的單元)進行進一步的安全評價補償。危險度評價法是借鑒日本勞動省“六階段”的定量評價表,結合我國******標準《石油化工企業設計防火標準》(GB 50160-2018)、《壓力容器中化學介質毒性危害和爆炸危險程度評價分類標準》(HG/T20660-2017)等技術規范標準,編制了“危險度評價取值表”,規定了危險度由物質、容量、溫度、壓力和操作等5個項目共同確定,其危險度分別按A=10分,B=5分,C=2分,D=0分賦值計分,由累計分值確定單元危險度。據此,本法較適合評價中固有危險程度的分析。
5.定性評價
5.1安全檢查表評價法
評價組人員對長春市康嘟加油站現場進行了勘查,并根據加油站提供的資料,采用加油站安全評價檢查表對加油站的安全管理、站址選擇和總平面布置、工藝及設施、公用工程單元進行了檢查和評價。檢查及評價結果詳見表5.1-1。




評價結果分析:
通過安全檢查表,評價小組對該項目的站址選擇單元及站內平面布置單元、工藝及設施單元、公用工程單元、安全管理單元進行了符合性檢查,檢查結果為合格。
5.2 采用危險度評價評價法分析
采用危險度評價法對加油站儲罐區進行評價。根據工藝、設備參數及操作危險性,對照“危險度評價取值表”進行取值賦分,計算出儲罐區的固有危險程度。并取其中的******值作為整個加油站的固有危險度。具體評價結果見下表。

6.安全對策措施及建議
6.1對策措施
加油站的主要危險有:火災、爆炸、中毒窒息、觸電、車輛傷害、機械傷害等,其危險地點為站內卸油區(罐區)、加油區、站內建筑物、進出口道路等,根據實地檢查,按照作業分段提出以下措施。
6.1.1卸油作業安全對策措施
1)油罐車進、出加油站或倒車時,應由加油站人員引導、指揮。
2)油罐車應停放于卸油專用區,熄火并拉上手剎車、車輪處放置輪擋;并使車頭向外,以利緊急事故發生時,可迅速駛離。
3)卸油過程中,卸油人員和油罐車駕駛員不應離開作業現場,打雷時應停止卸油作業。
4)向地下罐注油時,與該罐連接的給油設備應停止使用。卸油前應檢查油罐的存油量,以防灌油時溢油。卸油作業中,嚴禁用量油尺計量油罐。
5)卸油作業中,必須有專人在現場監視,并禁止車輛及非工作人員進入卸油區。
6)檢查確認油罐計量孔密閉良好。
7)油罐車進站后,卸油人員應立即檢查油罐車的安全設施是否齊全有效,油罐車的排氣管應安裝防火罩。檢查合格后,引導油罐車進入卸油現場,應先接妥靜電接地線夾頭接線并確實接觸。
8)油罐車熄滅并靜置15min后,卸油員按工藝流程連接卸油管及油氣回收管及接頭,將接頭結合緊密,保持卸油管自然彎曲;經計量后準備接卸;按規定在卸油位置上風處擺放干粉滅火器。
9)卸油前,核對罐車與油罐中油品的品名、牌號是否一致,各項準備工作檢查無誤后,能自流卸油的不用泵送卸油。
10)油罐車駕駛員緩慢開啟卸油閥卸油。卸油員集中精力監視、觀察卸油管線、相關閘閥、過濾器等設備的運行情況,隨時準備處理可能發生的問題。
11)卸油時嚴格控制油的流速,在油面淹沒進油管口200mm前,初始流速不應大于1m/s,正常卸油時流速控制在4.5m/s以內,以防產生靜電。
12)卸油完畢,油罐車駕駛員應關閉卸油閥;卸油員應先拆卸油管與油罐車連接端頭,并將卸油管抬高使管內油料流入油罐內并防止濺出。蓋嚴罐口處的卸油帽,收回靜電導線。收存卸油管、油氣回收管時不可拋摔,以防接頭變形。
13)卸油完畢罐車靜置5min后,卸油員引導油罐車啟車、離站,清理卸油現場,將消防器材放回原位。
14)待罐內油面靜止平穩后,通知加油員開機加油。
15)卸油時若發生油料濺溢時,應立即停止卸油并立即處理。
16)卸油時如發生交通事故、火災事故、爆炸事故、破壞事故和傷亡事故等重大事故,應立即停止卸油作業,同時應將油罐車駛離加油站。
17)在卸油過程中,嚴禁擦洗罐車物品、按喇叭、修車等,對器具要輕拿輕放,夜間照明須使用防爆燈具。
18)卸油口未使用時應加鎖。
6.1.2加油作業安全對策措施
6.1.2.1基本要求
1)加油機運轉時,電機和泵溫度應保持正常,計量器和泵的軸封應無明顯泄露,乙醇汽油加油流量不應大于50L/min。
2)加油機機件應保持性能良好,油氣分離器及過濾器應保持功能正常,排氣管應暢通、無損,泵安全閥應保持壓力正常。加油員在使用加油機前,應檢查加油機運轉是否正常及有無滲漏油品現象,并要保持加油機的整潔。
3)加油島上不得放置收錄音機、電扇、延長線、冷藏設備等一般電器設備及其他雜物。
4)有加油車輛進站時,加油人員應站在加油島上以防被撞,作業人員避免穿過兩車中間。
5)客車進站加油時不得載有乘客。
6)禁止使用絕緣性容器加注汽油、柴油等。
7)油罐操作孔的上口邊緣要高出周圍地面20cm,操作孔的蓋板及翻起蓋的螺桿軸要選用不產生火花的材料或采取其它防止產生火花的措施。
8)操作孔中的法蘭盤和其它地方的法蘭盤要采用金屬跨接的方式,防止靜電聚積。
6.1.2.2加油
1)車輛駛入站時,加油員應主動導車輛進入加油位置。當進站加油車停穩,發動機熄火后,方可打開油蓋,加油前加油機計數器回零后,啟動加油機開始加油。
2)加油作業應由加油員操作,不得由顧客自行處置。
3)加油時應避免油料濺出,尤其機車加油時應特別注意不可濺出油料濺及高溫引擎及排氣管。
4)加油時若有油料溢出,應立即擦拭,含有油污布料應妥善收存在蓋容器中。
5)加完油后,應立即將加油槍拉出,以防被拖走。
6)加油前及加油后應保持橡皮管放置于加油機上,防止被車輛壓壞。
7)當加油、結算等程序完成后,應及時引導車輛離開加油島。
8)站內有人吸煙或使用移動電話時,應立即停止加油。
9)在站內適當位置增設摩托車及塑料桶加油點,嚴禁用加油槍向摩托車、塑料桶直接加油,摩托車加油后,應用人將車推離加油點5m后,方可啟動。
10)加油站上空有高強閃電或雷擊頻繁時,應停止加油作業,采取防護措施。
6.1.3油罐計量
1)夜間量測油罐時應使用防爆型照明設備。
2)量油時應停止使用與油罐相連的加油機。
3)卸油后,待穩油15min后方可計量。
4)進行油品采樣、計量和測量時,不得猛拉快提,上提速度不得大于0.5m/s,下落速度不得大于1m/s。
6.1.4設備使用、維護、檢修的安全要求
6.1.4.1基本要求
1)維護、檢修應使用防爆型照明設備。
2)進加油站區域內各類作業人員上崗時應穿防靜電工作服,防靜電工作鞋、襪;嚴禁穿帶鐵釘的鞋。嚴禁在爆炸危險場所穿脫衣服、帽子或類似物。
3)嚴禁在加油站吸煙及用明火照明。
4)機械轉動部位應保證潤滑良好,及時加油并經常清除可燃污垢。
5)輸送可燃液體的管道,應定期進行耐壓試驗。
6)維修作業應使用防爆工具。嚴禁使用撞擊易產生火花的工具。
7)定時檢測地下油罐泄漏和人孔陰井油氣濃度,確認無油料溢出。
6.1.4.2清洗油罐
1)油罐清洗,應委托具備相應資格的專業公司依相關規定作業,清洗公司專門須指定并設置現場安全主管于現場指揮監督作業。
2)加油站地下油罐以密閉機械清洗為原則,動力機械以采取氣動式為原則,若采用電氣機具則應為防爆型式并實施接地。
3)清洗油罐所用的手持工具應為無火花安全工具,和全棉清潔用具。
4)清洗油罐處,須設置施工標識,并嚴禁無關人員接近。
5)油罐清洗時應隨時注意并測試油罐內、外油氣濃度及采取必要安全防護措施。
6)油罐清洗后之殘渣,應依廢棄物清理法規處理。
7)油罐清洗作業期間,值班站長須在現場監督清洗作業過程。
8)油罐清洗后,值班站長應立即檢查所有部件已回復正常狀態。
6.1.4.3加油機維修
1)加油機維修之前要切斷電源,摘下皮帶輪上的皮帶。若所修的部位需要放油時,必須用容器收集燃油,防止燃油泄漏。
2)所需工具須擺放整齊,嚴禁亂放亂摔。
3)在維修加油機時,要注意不要劃傷各金屬零件、密封件及密封結合面,以免造成泄漏。在復裝前,須將各零部件清洗干凈,以免損傷部件。
4)在維修電器設備之后,要仔細檢查線路,防止接錯。
5)加油機、加油島被進站車輛撞擊后,應立即關閉電源進行檢查,并立即通知維護人員檢修。
6.1.4.4動火作業
1)在加油站區域內進行電(氣)焊等明火作業應辦理動火審批手續。動火作業前,應經本單位負責人和安全部門審批。
2)動火期間,安全監護人員應到現場監督,現場應掛警示牌。動火人員應按動火審批的具體要求作業,動火完畢,監護人員和動火人員應共同檢查和清理現場。
3)動火時作業場所應增設消防器材,放置于施工處。
4)臨近火災、爆炸危險區域動火施工時,應隔離并注意風向,以防止余火飄入引起火災。
5)凡施工時須啟、閉管線閥門設備,均應由值班站長、安全員會同處理,施工人員不得擅自操作。
6)動用火種時,值班站長及施工現場負責人不得離開現場。
7)將動火設備,諸如油罐、輸送管線等的油品等可燃物徹底清理干凈,并有足夠時間進行蒸氣吹掃和水洗,達到動火條件。
8)與動火設備相連的所有管線,均應加堵盲板與系統徹底隔離、切斷。
9)油罐、容器動火,應做爆炸分析,合格后方可動火。動火前在外邊進行明火試驗,工作時容器外應有專人監護。
10)動火點周圍(***小半徑15m)的下水井、水封井、隔油池、地漏、地溝等應清除易燃物,并予以封閉。
11)電焊回路線應接在焊件上,不得穿過下水井地溝或其他設備搭火。
12)高處動火(2m以上)必須采取防止火花飛濺措施,風力較大時,應加強監護,大于5級時禁止動火。
13)動火開始前和動火結束后,均應認真檢查現場條件是否變化,不得留有余火。
6.1.4.5防雷防靜電設施
1)防雷裝置檢測應當每年一次,對爆炸危險環境場所的防雷裝置應當每半年檢測一次。
2)所有防靜電設備、測試儀表及防護用品,要定期檢查、維修,并建立設備檔案。
3)經常檢查加油槍膠管上的金屬屏蔽線和機體之間的靜電連接。
6.1.4.6供電
1)電氣作業必須由經過專業培訓、考試合格,持有電工特種作業資格證的人員進行。電氣作業人員上崗,應按規定穿戴好勞動防護用品并正確使用符合安全要求的電氣工具。
2)配電間閘箱,應設在獨立房間內,配電間內不得存放雜物及易燃品,配電箱內應用空氣開關代替刀閘開關,箱內保持干凈無雜物。
3)雷雨天氣巡檢室外設備時,巡檢人員必須穿絕緣靴,并不得靠近避雷裝置。
4)在低壓配電系統中,必須正確選擇、安裝、使用電流動作型漏電保護器。
5)電氣檢修必須執行電氣檢修工作票制度,并明確工作票簽發人、工作負責人(監護人)、工作許可人、操作人員責任。工作票必須經簽發人簽發,許可人許可,并辦理許可手續后方可作業。
6)不得在電氣設備、供電線路上帶電作業(無論高壓或低壓)。停電后,應在電源開關處上鎖、拆下熔斷器,并掛上“禁止合閘、有人工作”等標示牌,工作未結束或未得到許可,任何人不準隨意拿下標示牌或送電。工作完畢并經復查無誤后,由工作負責人將檢查情況與值班人員做好交接后方可摘牌送電。
7)不應隨意拉設臨時線路。
8)更換熔斷器,要嚴格按照規定選用熔絲,不得任意用其它金屬代替。
9)當外線停電后,及時斷開配電柜中外電總閘和加油站內主要設備及大負荷設備的電源開關(如:加油機、加油區照明、微機等)。按發電操作規程啟動發電設備。
10)恢復外線供電,當外線來電時斷開加油站內各主要設備及大負荷的電源開關(如:加油機、加油區照明、微機等)。注意觀察外電指示燈及電表變化情況,確認電壓穩定后,按操作規程恢復供電。
6.1.5站區站房管理
1)站區內嚴禁吸煙,不得使用移動通信工具。易燃、易爆區域內,嚴禁使用手機,嚴禁攝相拍照。
2)站區內搬運金屬容器時,嚴禁在地上拋擲或拖拉,在容器可能碰撞部位應覆蓋不發生火花的材料。
3)加油站之污油布存放桶應為金屬制,并定期清理。
4)加油站地面油漬必須立即清理,以防滑倒或引起火災。
5)不得使用汽油清洗油污。
6)工作人員進食前必須洗手。
7)作業人員應熟習掌握滅火器操作,熟悉消防器材位置,以備緊急時能立刻處理。
8)當發生洪澇災害時,加油站應立即關閉電源開關,停止營業,同時密封油罐量油孔,防止油品外溢,做好安全防范工作。洪澇過后及時組織排水,測試油罐底水高,檢查設備,排除隱患,確認無誤后,繼續營業。
6.2建議
1)外來車輛加油時,無關人員禁止入內。客車內的乘客要在站外下車。
2)加油車輛到限定位置后要熄火。司機不得在車輛定位后修車和擦試汽車。
3)加油員應親自操縱加油槍,不得折扭加油軟管或拉長到極限。加油槍應牢靠地插入油箱的灌口內,集中精力,認真操作,做到不灑不冒。
4)雷暴天氣,禁止加油作業;送油車卸油時暫停加油;不給塑料和膠皮容器加油。
5)加油機發生故障或發生危及加油站安全的情況時,應立即停止加油。發生跑、冒、灑油時,必須待清理完現場后,加油車才能起動離去。
6)對灑漏在地面上的油品,要及時處理。不得用化纖織物擦拭加油機、汽車油箱附近車體和地面。
7)給摩托車加油時,在加油站內劃出專門的摩托車加油區,將摩托車停放在劃定的區域內用鐵桶將油加入車內。
8)保持加油站設施與周邊環境以及加油站重要設施、設備之間的安全距離要求。
9)重要危險以及事故易發部位的安全警示標志要醒目。
10)重大危險設備、危險作業應嚴格執行有關安全規定。
11)加強相關專業人員的業務培訓及崗位資格培訓。
12)建立、健全人員崗位安全責任制和崗位操作規程,健全各類管理制度。
13)建立企業危險化學品事故應急救援預案以及重要危險設備的定期檢測、評估、監控措施,認真組織員工學習并進行有關預案內容的演練。
14)各類安全管理技術檔案、記錄及臺賬應如實填寫。
15)按規定配備足量的滅火器、滅火毯、消防沙、消防桶、消防鏟等消防器材,并在有利滅火要求的適當部位擺放,定期進行消防器材的檢查和維護保養,以保證消防器材完好、有效。
16)加強檢修現場的安全管理,在現場應設置安全界標或柵欄,并有專人監護,非檢修有關人員禁止入內。
7.評價結論
根據該加油站現場勘察與評價,通過對乙醇汽油、柴油的危險有害因素分析,對照有關標準規范,對該加油站評價結論如下:
(1)該加油站位于農安縣合隆鎮開發區凱旋北路與華能大街交匯處,該站規模屬于二級加油站。站內工藝設施與站外建構筑物之間防火距離及站內設施之間防火距離均符合要求。站址選擇及平面布置符合相關規范要求。
(2)根據《重點監管的危險化學品名錄》(2013完整版)規定,該加油站涉及的乙醇汽油屬于重點監管的危險化學品,加油站應切實加強危險化學品安全管理工作。
(3)通過對加油站儲罐區的危險物質進行重大危險源辨識,未構成危險化學品重大危險源。
(4)通過對該站的危險、有害因素分析可知該站存在火災、爆炸、中毒、窒息、靜電、雷擊、車輛傷害和觸電等危險因素,其中火災、爆炸的危險性發生幾率較大,且后果嚴重,輕則財產損失,重則造成重大經濟損失和人員傷亡,加油站應該在防火、防爆等方面著重管理。
綜上所述,長春市康嘟加油站符合******的相關法律、法規和標準、規范的要求。該項目采用的工藝、設備設施及輔助工程安全條件滿足安全經營要求,評價結論為具備安全條件,符合安全經營要求。